Programm siehe auf der Seite Gottesdienste/Besondere Gottesdienste
Andacht
RPR1. Angedacht: Zwei linke Hände mit ausschließlich Daumen!
Andacht vom 19.10.2024 von
Pfarrer Sascha Müller
(zum Anhören auf den Lautsprecher klicken)
Aus der Landeskirche
Neugestaltung des Außengeländes
Nach dem die Arbeiten der Erweiterung der Kindertagesstätte für die unter 3-jährigen Kinder fast abgeschlossen sind und die Einweihung der „Flohkiste“ am 18.06.2011 erfolgte, wird bereits das nächste Projekt in Angriff genommen um die Kindertagesstätte "Regenbogenhüpfer" den unterschiedlichen Bedürfnissen der Kinder zwischen ein und sechs Jahren gerecht zuwerden.
Das naturnahe Außengelände wird in den nächsten Wochen umgestaltet werden und somit den verschiedenen Altersgruppen angepasst.
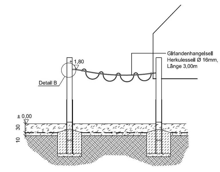
Für die größeren Kinder wird ein Kletterseilgarten errichtet, der verschiedene Stationen wie z.B. ein Girlandenhangelseil, eine Strickleiter, einen Tarzanweg, ein Balancierseil und ein Dreieckskletternetz umfasst.
Für die Kleinen wird ein separater, geschützter Außenspielbereich mit einer speziell auf die Kleinkinder abgestimmten Bewegungslandschaft geschaffen.
Wie bereits bei der letzten Umgestaltung des Außengeländes im Jahr 2002 wird auch diese Optimierung vom Ingenieur Büro Schäfer geplant und begleitet.
Bei der Umgestaltung sind die nachfolgend aufgelisteten Arbeitsaktionen geplant, bei denen die tatkräftige Unterstützung der Eltern, der Presbyter und der Gemeindeglieder erforderlich sind.
1. Arbeitsaktion: 23.07., und falls wir nicht fertig werden: 30.07.11
vorbereitende Arbeiten für: Schaukel umsetzen, Pfostenlöcher für Klettergarten graben, Versiegelung unter bisherigem Schaukelstandort aufbrechen
2. Arbeitsaktion: 27.08.11
Arbeiten: Fertigstellung der Mulchfläche unter zukünftigem Seilgarten, Seillandschaft aufhängen, Sandspielbereich vorbereiten
3. Arbeitsaktion: 27.09.11
Mit Schülern (Klingbachschule) und Konfirmanden
Arbeiten: Modellierungsarbeiten, Umrandungssteine setzen, vorhandenen Sandkasten verkleinern + neuen Sandkasten für die Großen im ehemaligen Hasengehege, Rasenansaat
4. Arbeitsaktion: 22.10.11
Arbeiten: abschließende Arbeiten, Pflanzarbeiten, Geländereinigungsarbeiten
Bei Rückfragen wenden Sie sich bitte an die Leiterin der Kindertagesstätte Petra Ries tel. 06349/5008
Hari
Arbeitseinsatz am 23. Juli 2011
Für den ersten Arbeitseinsatz haben wir uns viel vorgenommen.
Es wurden also viele Eltern, noch mehr Werkzeuge und schwere Arbeitsmaschinen organisiert. Gut, dass wir Winzer mit schwerem Gerät unter den Eltern haben, so konnte einmal mehr viel Geld eingespart werden.
Zunächst musste der Schaukelbereich verkleinert werden. Der Platz wird für den Spielbereich der U-3-Kinder gebraucht. Um die Schaukel wieder zu verwenden, wurde sie als ganzes um 90 Grad gedreht und versetzt wieder eingebaut. Dazu wurden mächtige Betonfundamente ausgegraben und abgeschlagen. Das war trotz Einsatz von Bagger und Radlader Knochenarbeit. Schließlich wurden neue Fundamente gesetzt und die Schaukel wieder einbetoniert.
Ein neuer Seilgarten für die über-3-Jährigen soll die Bewegungslandschaft ergänzen. Dafür mussten zwei Schaukeltiere und ein Klettergerüst weichen.
Das Klettergerüst wurde versetzt und dafür ein neuer Fallschutzbereich angelegt.
Auch für den Seilgarten wird ein Fallschutzbereich aus 40cm tiefem Rindenmulch angelegt, doch zunächst mussten die Holzpfähle gesetzt werden. Ausmessen, Löcher graben, Beton einfüllen, Holzpfähle einsetzten und ausrichten.
Auch beim Sandkasten müssen die U-3-Kinder von den „Großen“ getrennt werden. Zunächst wird die schon morsche Einfassung entfernt. Der Sandkasten wird dann verkleinert und mittels Hügellandschaft vom weiteren Gartenbereich getrennt.
Arbeitseinsatz am 20.August 2011
Nachdem beim ersten Arbeitseinsatz die „groben Arbeiten“ geleistet wurden, sollte nun der Seilgarten angelegt werden.
Dazu wurden am 20. August die Vorarbeiten mit kleiner Mannschaft geleistet. Das Material wurde geprüft, die Befestigungspunkte für die Seile wurden angezeichnet und der Fallschutzbereich ausgemessen.
Da noch ein Bagger zur Verfügung stand, wurde noch der neue Sandkasten für die „Großen“ ausgehoben. Dabei ging ein Abflussrohr zu Bruch, das die Wasserpumpe mit Regenwasser versorgt. (Mit dieser Brunnenhandpumpe können die Kinder selbstgebaute Wasserläufe testen usw.) Die Rohre wurden also freigelegt und repariert.
Arbeitseinsatz am 27. August 2011
Am 27. August wurde mit vielen Helfern der Seilgarten angelegt.
Während die Montage der Seile gut voranging, wurde der schon vorhandene Fallschutzbereich erweitert und ausgehoben. Er sollte später mit Rindenmulch aufgefüllt werden.
Parallel dazu wurde der neue Fallschutz um das Klettergerüst ebenso angelegt.
Der fertige Seilgarten wird von den Kindern sehr gut angenommen und ist eine echte Attraktion im Kindergarten.
Mit ein paar Restarbeiten am Schaukelgelände ging der Einsatz zu Ende.
Arbeitseinsatz am 31. August 2011
Ein paar Tage später, am 31. August wurde der neue Sandkasten fertig gestellt. Nach den Vorarbeiten mit dem Bagger war noch unerwartet viel Erde auszuheben, und das war Knochenarbeit. Aus dem schweren lehmigen Boden mussten die Brocken Stück für Stück mit dem Pickel herausgehauen werden.
Nebenbei entstand die Umrandung aus Bundsandstein und Beton – damit fügt sich der Sandkasten gut in seine Umgebung ein.
Aufgefüllt wird er dann während der nächsten Aktion.
Arbeitseinsatz am 27. September vormittags
Am Vormittag des 27. September traten 23 Schüler der 9. und 10. Klasse der ortsansässigen Klingbachschule zum Arbeitseinsatz an.
Bewaffnet mit Schaufeln und Schubkarren sollten sie 10 Kubikmeter alten Spielsand aus dem Sandkasten im umliegenden Gartengelände verteilen sowie 20 Kubikmeter neuen Sand in den alten und neuen Sandkasten schaufeln.
Wir waren begeistert mit welch großem Engagement und Einsatz die Jugendlichen an die Arbeit gingen. Teilweise haben Sie die Schubkarren im Laufschritt hin und her gefahren. Und alle haben bis zum Schluss durchgehalten.
Hier sei nochmals der Dank an alle Schüler, dem Schulleiter Herrn Hüther, dem Hausmeister Herrn. Dörr – er hatte zusätzliche Schubkarren und Schaufeln zur Verfügung gestellt und den beiden Klassleitern Frau Hubrich-Julier und Herrn Seutter ausgesprochen.
Laut Berichten der Lehrer haben nicht nur die Kindergartenkinder von der Aktion profitiert, sondern auch die Schüler – sie empfanden den Vormittag als tolle Abwechslung zum Schulalltag und konnten das Gemeinschaftsgefühl zwischen den Klassen stärken. Wir denken, auch die Sicht auf die Kindergartenkinder und der Umgang mit ihnen wurden dadurch positiv eeinflusst
Arbeitseinsatz am 27.September 2011 nachmittags
Am Nachmittag kamen dann 21 Konfirmanden. Auch sie waren zum freiwilligen Einsatz gekommen und haben sich ordentlich ins Zeug gelegt.
Die Hügellandschaft für die U-3-Kinder war zur modellieren und das war mit schwerem, lehmigem Boden sehr mühsam. Trotzdem war die Gestaltung gut gelungen.
Zusätzlich musste noch weiterer Rindenmulch ausgebracht werden. Leider konnte diese Aufgabe nicht mehr zu Ende gebracht werden – das lag allerdings nicht an den Konfirmanden, der Mulch wurde einfach zu spät angeliefert.
Am Ende des Tages hatten die Schüler und Konfirmanden zusammen 151 Arbeitsstunden geleistet und die Arbeiten ein großes Stück weiter gebracht.
Herzlichen Dank im Namen der Kinder, der Eltern, des Fördervereins und des Kindergartenteams an alle Helfer!
Klingbachschule bei Regenbogenhüpfer
Arbeitseinsatz am 27. September 2011
Am 27.September besuchten Schüler und Schülerinnen der Klassen 9 und 10 unsere Kindertagesstätte „Regenbogenhüpfer“. Die Klingbachschule unterhält zu den Kindergärten in ihrem Einzugsgebiet Partnerschaften, um den Kindern den Übergang in die Grundschule zu erleichtern. Aber an diesem Tag profitierten die Kinder beider Einrichtungen in einer ganz anderen Form voneinander. Die großen Klingbachschüler kamen mit Schubkarren und Schaufeln zum Helfen. Viele Kubikmeter alter und neuer Sand musste bewegt werden, um alten Spielsand zu entsorgen und die 2 neuen Sandkästen zu füllen. Für die Schüler war es zwar harte Arbeit, aber auch eine willkommene Abwechslung in ihrem Schulalltag. Der Klingbachschule und speziell den Klassenleitern Frau Hubrich-Julier und Herrn Seutter sei Dank, denn sie konnten den Regenbogenhüpfern Freude bereiten, die nun die neue Anlage nutzen können. „Schade“, meinte ein anwesendes Mitglied des Presbyteriums, „dass die Hauptschule aus der Klingbachschule ausgegliedert wurde, denn den Schülern geht bei solchen Aktionen der Bezug zu örtlichen Einrichtungen verloren, wenn sie in weiter entfernte Schulen fahren müssen.“
Arbeitseinsatz am 22.Oktober 2011
Am 22. Oktober war nun der letzte große Einsatz unseres Projektes.
Wieder sind viele Eltern und auch zwei Erzieherinnen dabei, um die letzten Arbeiten anzugehen.
Offen geblieben sind die Verlegung des Weges (die Rennstrecke der Kinder muss aufgrund der neuen Gartengestaltung umgeleitet werden), die Einfassung des Sandkastens mit Buntsandsteinen und natürlich die Bepflanzung der neu entstandenen Bereiche.
Der „Straßenbautrupp“ musste zunächst den neuen „Straßenverlauf“ markieren, den lehmigen Boden ausheben und dann mit Schotter ausfüllen. Das Aufbringen und Verdichten von speziellem Wegesand wird in einer kleinen Sonderaktion erfolgen.
Der Sandkasten für die unter 3-jährigen sollte analog dem Sandkaste für die Großen mit Buntsandstein eingefasst werden. Von der letzten Sandkastenaktion waren noch ausreichend Sandsteinblöcke vorhanden. Mit ein paar Sack Zement, Kies, Wasser und Muskelkraft wurden einige Schubkarren Mörtel angerührt und die Umrandung befestigt. Damit fügt sich der Sandkasten deutlich besser in das Gesamtbild ein und der Sand bleibt da, wo er hingehört.
Hauptaufgabe war aber die Begrünung der neu gestalteten Gartenbereiche. Die Hügellandschaft wurde mit einer geeigneten Mischung an Sträuchern und Büschen bepflanzt. Dabei wurden auch viele Beerensträucher gesetzt – und wenn wir alles richtig gemacht haben können die Kinder im nächsten Jahr schon reichlich Beeren naschen.
Zwischen den Sträuchern wurde Rindenmulch ausgebracht
Die anderen Flächen mussten jetzt noch für den neuen Rasen vorbereitet werden. Ebnen, walzen mit Dünger und Pflanzsubstrat anreichern, schließlich die Grassamen säen und einarbeiten und nochmals walzen.
Abschließend wurde alles noch einmal gründlich gewässert. Über den Winter muss die Natur ihren Beitrag leisten, damit im Frühjahr alles grün eingewachsen ist für die neue Gartensaison im neuen Gartenbereich.
Abschließend möchte ich mich nochmals – auch im Namen der Kinder, der Eltern und des Erzieherinnen-Teams - bei der Daimler AG und dem „Wir bewegen was“ – Projektteam ganz herzlich für die großzügige Spende bedanken.
Es war für alle Beteiligten ordentlich viel und schwere Arbeit, aber ein vielseitig und sehr ansprechender Gartenbereich sowie ein deutlich größerer Zusammenhalt in der Elternschaft entschädigen dafür.
Arbeitseinsatz am 28.04.2012
Fleißige Helfer bei den Regenbogenhüpfern
Am 28. April wurden die letzten Arbeiten im Garten für den Nestgruppenbereich erledigt. Einige große und kleine Helfer waren da.
Der neue Weg bekam seinen letzten Schliff:
Viele unterschiedliche Materialien mussten transportiert werden. Auf der einen Stelle im Außengelände wurde etwas weggenommen, auf der anderen Stelle wurde etwas dazu getan. Neuer Rasen wurde gesät usw.
In unserem „Kindergarten“ hat sich wieder etwas verändert und unsere Regenbogenhüpfer können das schön gestaltete naturnahe Außengelände erobern und mit allen Sinnen genießen.
Die neue Bank am Nestgruppensandkasten konnten wir gleich einweihen.











































